BACK
The Spectronic 20 (Spec20) is the most common type of spectrophotometer used in labs today, and is the one you will use in your CHM1046 labs.
The spectrophotometer is an instrument that measures the amount of light that passes through a medium at a specific wavelength. According to Beer’s law, the amount of light absorbed by a medium is proportional to the concentration of the absorbing material or solute present. Thus the concentration of a colored solute in a solution may be determined in the lab by measuring its absorbance of light at a given wavelength. Wavelength (often abbreviated as lambda) is measured in nanometers (nm). The spectrophotometer allows the operator to select a wavelength to pass through the solution. Usually, the wavelength chosen corresponds to the absorption maximum of the solute. Absorption is indicated with a capital “A”
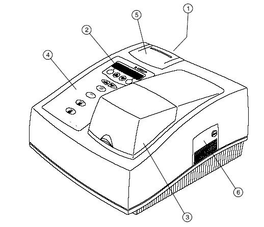
1. Display: 20-character, 2-line LCD
2. Soft key 1: Function varies depending on screen; generally Escape, Back up or Clear
3.Soft key 2: Function varies depending on screen; generally Enter, Accept or Continue
4.Scroll keys: Used to scroll through menus and enter numeric values
5.Wavelength controls: Increase and decrease the wavelength setting |
6. 0 Abs/100%T: Automatically sets the instrument to zero absorbance (100%T)
7. A/T/C: Switches between absorbance, %transmittance and concentration modes
8. Utility: Accesses instrument set-up, diagnostics and other functions
9. Print: Sends currently displayed data to selected printer
Keyboard layout

|